Datenbank Bauforschung/Restaurierung

Datenbank Bauforschung/Restaurierung

Isoliergebäude der Neuen Medizinischen Klinik, Geb.-Nr. 4200

ID: 381314109074  /  Datum: 03.08.2009
Datenbestand: Bauforschung
Als PDF herunterladen:
Alle Inhalte dieser Seite: /

Objektdaten

Straße: Voßstraße
Hausnummer: 2
Postleitzahl: 69115
Stadt-Teilort: Heidelberg-Bergheim

Regierungsbezirk: Karlsruhe
Kreis: Heidelberg (Stadtkreis)
Wohnplatzschlüssel: 8221000004
Flurstücknummer: 1847
Historischer Straßenname: keiner
Historische Gebäudenummer: keine
Lage des Wohnplatzes: Lage des Wohnplatzes

Kartenansicht (OpenStreetMaps)

Durch Ihre Cookie-Auswahl haben Sie die Kartenansicht deaktiviert, die eigentlich hier angezeigt werden würde. Wenn Sie die Kartenansicht nutzen möchten, passen Sie bitte Ihre Cookie-Einstellungen unter Impressum & Datenschutzerklärung an.

Objektbeziehungen

Ist Gebäudeteil von:
1. Gebäudeteil: Neue Medizinische Klinik, Geb.-Nr. 4190, Psychiatrische Ambulanz, Voßstraße 2

Besteht aus folgenden Gebäudeteilen:
keine Angabe

Umbauzuordnung

keine

Weitere Objekte an diesem Wohnplatz

ehem. Schlossquelle-Brauerei (69115 Heidelberg-Bergheim, Bergheimer Straße 91)
ehem. Lutherhaus, Kirchstraße 2 (69115 Heidelberg-Bergheim)
Blumsches Freibad (69115 Heidelberg-Bergheim, Schurmannstraße 1)
Ehem. Klinikumsverwaltung, Gebäude 4400, Voßstraße 2 (69115 Heidelberg-Bergheim)
Neue Medizinische Klinik, Geb.-Nr. 4190, Psychiatrische Ambulanz, Voßstraße 2 (69115 Heidelberg-Bergheim)
Czerny-Klinik / Samariterhaus, Voßstraße 3 (69115 Heidelberg-Bergheim)
Psychiatrische Klinik, Voßstraße 4 (69115 Heidelberg)

Bauphasen

Kurzbeschreibung der Bau-/Objektgeschichte bzw. Baugestaltungs- und Restaurierungsphasen:

Das Isoliergebäude der Neuen Medizinischen Klinik wurde nördlich davon in Jahren 1903-04 unter Julius Koch, Vorstand der Bezirksbauinspektion Heidelberg, errichtet.
1990-1992 folgten Sanierung und Umbau des Gebäudes für die Psychiatrische Universitätsklinik. Im Zuge der Umbaumaßnahmen wurden Teile des Anbaus abgerissen, um den ursprünglichen Zustand wiederherzustellen. Die Fensteröffnungen im Mittelbereich wurden geschlossen, um eine bessere Proportion der Fassade zu erreichen.


1. Bauphase:
(1903 - 1904)
Errichtung des Isoliergebäudes der Neuen Medizinischen Klinik. (a)
Betroffene Gebäudeteile:
keine
Bauwerkstyp:
  • Bauten für Wohlfahrt und Gesundheit
    • Krankenhaus

2. Bauphase:
(1990 - 1992)
Sanierung und Umbau des Gebäudes für die Psychiatrische Universitätsklinik. Im Zuge der Umbaumaßnahmen wurden Teile des Anbaus abgerissen, um den ursprünglichen Zustand wiederherzustellen. Die Fensteröffnungen im Mittelbereich wurden geschlossen, um eine bessere Proportion der Fassade zu erreichen. (a)
Betroffene Gebäudeteile:
keine

Besitzer:in

keine Angaben

Fotos

Isoliergebäude der Neuen Medizinischen Klinik, Geb.-Nr. 4200, Ansicht von Nordwesten, 
Urheber: Regierungspräsidium Karlsruhe, RPK, Ref. 26  	 / Isoliergebäude der Neuen Medizinischen Klinik, Geb.-Nr. 4200 in 69115 Heidelberg-Bergheim
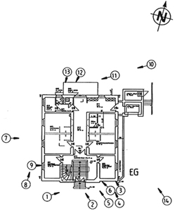
Bestandsplan, Erdgeschoss, 
Urheber: Heidelberg, Vermögen und Bau Baden-Württemberg, Universitätsbauamt Heidelberg (Abteilung) / Isoliergebäude der Neuen Medizinischen Klinik, Geb.-Nr. 4200 in 69115 Heidelberg-Bergheim

Zugeordnete Dokumentationen

  • Bestandsdokumentation
  • Befunduntersuchung

Beschreibung

Umgebung, Lage:
Das Gebäude liegt nördlich von der Neuen Medizinischen Klinik, am Rande des Bereiches des sog. „Altklinikums“.
Lagedetail:
  • Siedlung
    • Stadt
Bauwerkstyp:
  • Bauten für Wohlfahrt und Gesundheit
    • Krankenhaus
Baukörper/Objektform (Kurzbeschreibung):
Das Gebäude ist in der Mittelachse mit der Neuen Medizinischen Klinik (Geb.-Nr.4190) durch einen offenen Gang verbunden. Über dem Kellergeschoss erhebt sich ein hochparterreartiger Hauptgeschoss und ein voll ausgebauter Mansarddach.
Innerer Aufbau/Grundriss/
Zonierung:
Das Gebäude ist über einem rechteckigen Grundriss errichtet. An der Eingangsseite (Südseite) sitzt in einem flachen Risalit im Sockelbereich der rundbogige, von rechteckigen Öffnungen flankierte Eingang, von dem aus innen eine Treppe auf Hauptgeschossniveau führt. Im Inneren sind die Krankenzimmer zu Seiten eines Mittelflures eingeteilt.
Vorgefundener Zustand (z.B. Schäden, Vorzustand):
An der Ostseite wurde außen ein Aufzug angefügt. Die historische Treppe ist erhalten.
Es sind die historische Fußböden (Parkett, Diele, Keramikplatten im Eingangsbereich), Holzlambrien, historische Fenster (mit Brüstungspaneelen, Messinggriffen) und historische Türen mit Türrahmungen erhalten.
Bestand/Ausstattung:
keine Angaben

Konstruktionen

Konstruktionsdetail:
  • Steinbau Mauerwerk
    • Backstein
  • Verwendete Materialien
    • Backstein
    • Stein
  • Gewölbe
    • Preußische Kappen
  • Detail (Ausstattung)
    • bemerkenswerte Fenster
    • bemerkenswerte Treppen
    • bemerkenswerte Türen
    • besondere Bodenbeläge
  • Dachform
    • Mansardwalmdach
Konstruktion/Material:
Es handelt sich um einen Backsteinbau mit hausteinverblendetem Kellergeschoss. Die hochrechteckigen Fenster (verteilt auf vier Achsen an den Längsseiten und drei Achsen an der Nordseite) haben im Hauptgeschoss über den Hausteingewänden backsteingemauerte Entlastungsbögen. Ein Drillingsfenster über dem Eingang belichtet das Treppenhaus.
Die preußische Kappdecke im Kellergeschoss ist mit Stahl-Deckenträger T-90 konstruiert.

Quick-Response-Code

qrCode